PRODUCT CENTER
所有產品
微分頭
前后雙面顯示屏,可通過按鍵調整顯示方向。
按鍵控制液晶屏顯示值方向的換向, 順序是背面顯示屏開、顯示數字反向、正常顯示(背面顯示屏關)。
棘輪套測力。
IP54防護等級。
| 貨號 | 測量范圍 | 精度 | 分辨力 | 型式 |
|---|---|---|---|---|
| 0900-632 | 0-30mm | 0.003mm | 0.001mm | 硬質合金平測量面 |
| 0900-732 | 0-30mm | 0.003mm | 0.001mm | 硬質合金平測量面 |
| 0910-632 | 0-30mm | 0.003mm | 0.001mm | 硬質合金球測量面 |
| 0910-732 | 0-30mm | 0.003mm | 0.001mm | 硬質合金球測量面 |

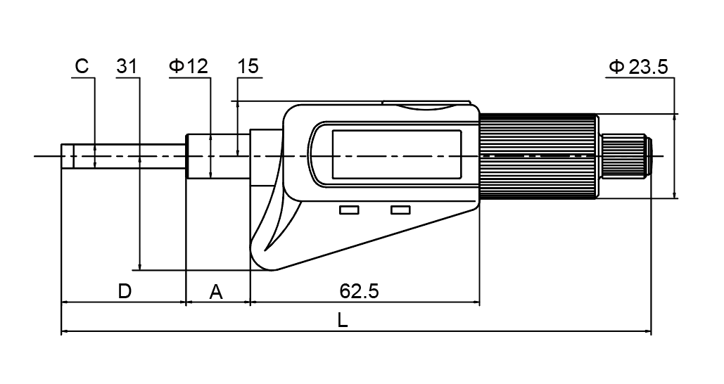
| 貨號 | A | C | D | L | |
|---|---|---|---|---|---|
| 0900-632 | 0910-632 | 17.5mm | Φ6.5mm | 34mm | 159mm |
| 0900-732 | 0910-732 | 20.5mm | Φ8.0mm | 34mm | 162mm |
| 開關鍵 | √ |
| 絕對、相對測量模式轉換鍵 | √ |
| 公制、英制測量模式轉換鍵 | √ |
| 顯示數據輸出鍵 | √ |
| 絕對測量初始值設置鍵 | √ |
| 顯示屏顯示調整方向 | √ |
| 電池型號 | CR2032 |
| 自動斷電 | √ |
| 數據輸出口 | √ |
| 接口電纜(選配) | P1505 |
