PRODUCT CENTER
所有產品
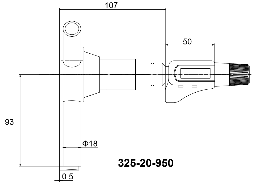
內徑千分尺
IP54防護等級。
數顯系統與132-XX-554電子千分尺相同。
測量范圍大。
高精度可換量頭,更換后不用對零。
適用于盲孔和通孔的精密測量。
硬質合金測量面。
棘輪測力。
選配校對環規。

| 貨號 | 測量范圍 | 精度 | 校對環規 | 可換測頭 | 接長桿 |
|---|---|---|---|---|---|
| 325-20-950 | 200-500mm | (1+L/50)μm | Φ200mm | 3x50mm,3x100mm | 150mm,500mm |
| 325-25-950 | 200-1000mm | (1+L/50)μm | Φ200mm | 3x50mm,3x100mm, 3x150mm,3x200mm, 3x250mm,3x300mm, 3x350mm | 150mm,500mm, 1000mm |



